Console, News

Sony Gunakan Akun AI untuk Tangkap Pemain Nakal di Game Online

Sony kembali bikin heboh! Kali ini mereka sedang mengembangkan teknologi baru yang bisa bikin dunia game online jadi lebih aman. Dengan sebuah paten yang mereka daftarkan, Sony ingin memakai akun berbasis kecerdasan buatan (AI) untuk menangkap pemain-pemain nakal, seperti cheater, scammer, atau bahkan predator online.

Apa Itu Akun AI?

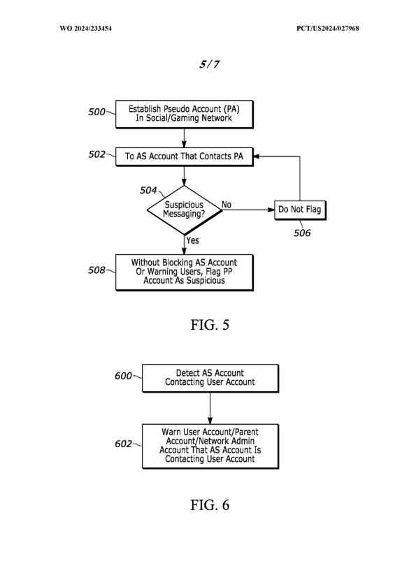
Bayangkan akun palsu yang dikendalikan oleh AI. Akun ini dirancang untuk berinteraksi dengan pemain yang mencurigakan, pura-pura jadi pemain biasa, tapi sebenarnya sedang “memancing” mereka untuk melanggar aturan. Misalnya, scammer mungkin akan mencoba menipu akun AI ini, dan sistem otomatis akan langsung menandai mereka sebagai pemain bermasalah.

Selama ini, banyak pemain nakal yang baru ketahuan setelah mereka bikin masalah, seperti curang di game atau mengganggu pemain lain. Sony merasa cara ini terlalu lambat. Dengan teknologi AI ini, mereka ingin bertindak lebih cepat, mencegah masalah sebelum terjadi.

Bagaimana Cara Kerjanya?

  • Akun AI pura-pura jadi pemain asli dan melakukan interaksi alami, seperti ngobrol atau main bareng.
  • Kalau ada pemain nakal yang “terpancing” melanggar aturan, AI langsung melaporkannya.
  • Setelah itu, akun tersebut akan diperiksa lebih lanjut oleh moderator manusia untuk memastikan bahwa tindakan yang diambil sudah tepat.

Keren atau Menyeram kan?

Teknologi ini terdengar keren, tapi banyak juga yang khawatir. Misalnya, gimana kalau AI salah menandai akun yang sebenarnya nggak bersalah? Atau, apakah ini melanggar privasi pemain?

Sony sendiri bilang teknologi ini dirancang untuk mencegah pelanggaran aturan dan membuat game lebih aman. Tapi tetap saja, gamer ingin memastikan bahwa sistem ini nggak bikin suasana main game jadi nggak nyaman. Sony memang sering mencoba hal-hal baru di dunia game. Sebelumnya, mereka sudah mematenkan fitur seperti tombol rewind universal untuk game atau teknologi yang otomatis menyesuaikan pencahayaan dan frame rate. Tapi untuk yang satu ini, reaksi gamer masih campur aduk—ada yang excited, tapi ada juga yang ragu.

Kalau akun AI ini berhasil, game yang membutuhkan koneksi online bisa jadi lebih aman. Tapi kalau gagal, bisa jadi kontroversi besar. Jadi, menurut kamu, langkah ini bakal jadi terobosan besar atau cuma gimmick belaka?